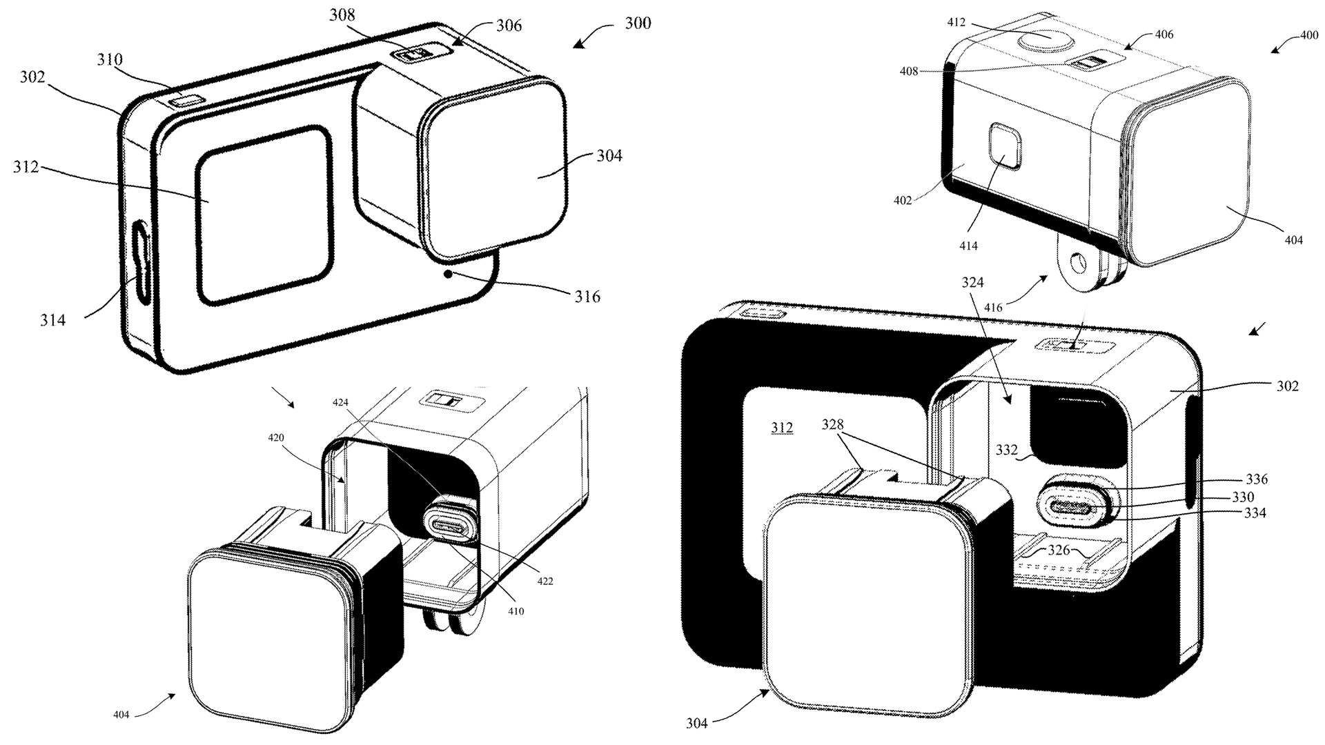
De GoPro HERO12 Black heeft al aardig wat opschudding veroorzaakt in de techwereld, en de geruchtenmolen draait op volle toeren. Fans en experts kijken reikhalzend uit naar wat deze nieuwe actiecamera te bieden heeft. In dit artikel duiken we dieper in op de geruchten en speculaties rondom de GoPro HERO12 Black. De laatste tijd komt de geruchtenmolen weer op gang. Hieronder de meest voorkomende geruchten en eventueel toevoegingen van onze kant. 1-inch sensor Volgens de onderstaande tweet zal de GoPro HERO12 Black voorzien zijn van een 1-inch sensor wat veel verbetering qua lichtopbrengst kan geven voor filmen met weinig licht. Deze sensor zou zo'n 376% groter zijn dan de huidige 1/1,9" sensor die in de GoPro HERO11 Black en GoPro HERO11 Black Mini te vinden is. Dit zou een oversized versie kunnen zijn van de Sony IMX707 sesor kunnen zijn. Deze 4:3 ratio sensor is 1/1.28" groot en door deze extra hoogte te geven zou dit een 1" 8:7 ratio sensor kunnen zijn. Misschien een Sony IMX707L*, al is deze nog niet terug te vinden in de lijsten bij Sony. Aangezien de IMX707 al een oudere 50 megapixel sensor is, is het aannemelijker dat er een nieuwe Sony 36 megapixels sensor aan zit te komen om de verwachte resoluties te ondersteunen. *) De GoPro HERO11 is voorzien van een 8:7 ratio Sony IMX677L (1/1,9"), de GoPro HERO10 heeft een Sony IMX677 (1/2,3") met een ratio van 4:3 aan boord. @Quadro_News Gopro 12 leaked ? pic.twitter.com/LaEJG6coz4 — Tech Insights (@tech_insights4U) August 1, 2023 .twitter-tweet { margin-left: auto; margin-right: auto; } UPDATE 20-08-2023: Aangezien de beelden en informatie die nu naar buiten zijn gekomen en veel waarschijnlijker zijn, kunnen we wel met zekerheid zeggen dat de GoPro HERO12 Black géén 1-inch sensor zal hebben. De bovenstaande foto's zien er wel echt uit, een GoPro HERO12 Pro? Verbeterde beeldkwaliteit Een van de grootste verwachtingen voor de GoPro HERO12 Black is een significante upgrade in beeldkwaliteit. Met geruchten over een nieuwe sensor en geavanceerde beeldverwerkingsmogelijkheden wordt er gespeculeerd dat deze nieuwe GoPro verbluffende 8K-opnamen zal kunnen maken met verbeterde helderheid en detail. 8x slow motion Met slow-motion kan je de actie nog beter zien. Naar verluid zal de GoPro HERO12 Black kunnen filmen op 5,3K met 120 beelden per seconde en op 4K zelfs met een verbluffende 240 beelden per seconde om je actie tot 8x te vertragen. 30 megapixel foto's Een grotere sensor betekend ook grotere foto's Met de GoPro HERO12 Black zou je foto's kunnen maken van 30 megapixels. Dit ontkracht ook meteen mijn Sony IMX707L suggestie aangezien die 50 megapixels heeft. Versterkt mijn andere optie dat er een nieuwe Sony IMX sensor aan zit te komen. Geupgradet scherm Het nieuwe achterste scherm van de GoPro HERO 12 lijkt echt supervet. Het is een volledig rand-tot-rand touchscreen, wat betekent dat het de hele achterkant van de camera bedekt en veel moderner is dan de oudere schermen op eerdere modellen. Dit is echt opwindend, want het maakt het gebruik van de camera supergemakkelijk. Iedereen kan zich nu als een professionele videograaf voelen en hun geweldige avonturen vastleggen in ongelooflijk detail. Het is zo makkelijk te gebruiken en de ervaring is gewoon naadloos! Afneembare afstandsbediening met touchscreen Stel je voor dat GoPro het innovatieve concept opnieuw zou bekijken met de GoPro Hero 12 Black en een afneembaar scherm zou ontwikkelen dat aan de pols of het stuur van de afstandsbediening kan worden bevestigd? De Media Mod van de Hero8 Black zou de eerste stap kunnen zijn richting dit idee, aangezien het gebruikers in staat stelt een omkeerbaar LCD-scherm voor vloggen te bevestigen. Stel je voor dat je dat LCD-scherm aan je pols kunt bevestigen, wat handig zou zijn in situaties waarin het onhandig is om in je zak te reiken om verbinding te maken met de GoPro-app. Het is natuurlijk allemaal behoorlijk onwaarschijnlijk, maar hé, wie weet? Zelfde design Het ontwerp van de HERO12 Black zou dus ook een make-over krijgen maar de gelekte afbeelding hierboven toont exact de zelfde behuizing als de GoPro HERO11 Black. Modulair ontwerp Volgens US patent 2023/0254560 welke 10-02-2022 is ingediend en vandaag (10-08-2023) is gepubliseerd, is er een ontwerpt voor een modulaire camera die lijkt op een HERO Session waar je een scherm op klikt. Een ontwerp en patent zegt niks of het er ooit zal komen. Het lijkt in iedergeval niks op de foto hierboven. 2 Krachtige prestaties Het ziet er naar uit dat de GoPro HERO12 Black vorzien is van de zelfde GP2 SoC als de 2 voorgangers alleen zal er meer potentie uitgehaald zijn. Als je wat in de certificeringen duikt dan zie je dat de interne code van de HERO12 het zelfde is als de HERO11 en zelfs de HERO10 namelijk CPST1. Er is een nieuwe Bluetooth 5.0 certificering onder deze code naam. 1 Nieuwe AI-technologie in de GoPro HERO12 Black Toen GoPro de Hero10 Black uitbracht, presenteerde het de geheel nieuwe GP2-processor. De verwachtingen zijn hooggespannen dat GoPro voortbouwt op deze functie in de Hero12 Black en nieuwe intelligente foto-opties introduceert die gebruik maken van AI-technologie. Net als smartphones kan de nieuwe GoPro-camera mogelijkheden hebben voor onderwerpdetectie en scèneherkenning. Bovendien zou AI-technologie gebruikt kunnen worden om het effect van een geringe scherptediepte toe te passen. Geruchten suggereren ook dat de nieuwe GoPro AI-technologie zou kunnen integreren om automatisch de beste opname-instellingen te kiezen op basis van de omstandigheden, wat het gebruiksgemak aanzienlijk zou vergroten. Tjah, dit is niks nieuws. Canon (en de andere merken waarschijnlijk ook wel) doet dat al jaren met hun DiGiC processors. Hier zit een heel archief aan foto's in en instellingen waarmee de camera leert hoe de belichting zou moeten zijn. Maarja, AI is hot dus noemen we het nu AI. Uitgebreide accessoires GoPro staat bekend om zijn brede scala aan accessoires, en met de HERO12 Black zouden er nieuwe accessoires kunnen worden geïntroduceerd om de opname-ervaring verder te verbeteren. GPS-mod voor fietsers - Een GPS-mod zou fietsers in staat kunnen stellen om hun GoPro te gebruiken als fietscomputer. Een toegevoegde map-mod zou de mogelijkheid bieden om het gebruik van de camera uit te breiden met verschillende schermen en functies. Een GPS-mod lijkt mij overbodig, de camera beschikt al over GPD. Een Map-mod waarmee je icm de Display-mod fietskaarten en info kan tonen lijkt me aannemelijker. De tijd zal het leren. Nieuwe Lens-mods - Het zou ideaal zijn als er verschillende optische lensopties beschikbaar zouden zijn voor verschillende scenario's. Met verschillende lenzen zouden gebruikers een lineaire lens kunnen kiezen voor vloggen, een standaard groothoeklens voor extreme sporten en algemeen gebruik, en een langere brandpuntsafstand voor drone- en luchtfotografie. Het zou ook eindeloze mogelijkheden kunnen bieden voor speciale effectlenzen en filters. En nieuwe kansen creëren voor creatieve filmmakers zonder de bestaande klantenkring van GoPro te beïnvloeden. Details zijn er niet maar mogelijk komt er een officiele Anamorphic cinema lens en een optisch ingezoomde lens. Bewegingsdetectie Om de functionaliteit met meerdere camera's naar nieuwe hoogten te tillen, kan de GoPro HERO12 een baanbrekende functie voor bewegingsdetectie introduceren. Stel je voor dat je camera's op zowel je helm als op de achterkant van je fiets hebt gemonteerd. In het geval van een val zou de achterste camera intelligent de beweging kunnen detecteren en automatisch beginnen met opnemen vanuit die hoek, zodat je elk opwindend moment vastlegt. Soms vraag ik mij af hoe men aan deze onzin komt. Ik zou bijna zeggen dat dit gewoon AI gegenereerde content is zonder fijtelijkheden. Een beetje GoPro gebruiker weet dat bewegings detectie al een aantal jaar beschikbaar is via de GoPro Labs firmware. Het is dus helemaal geen nieuwe functionaliteit van de GoPro HERO12 maar werkt al met een GoPRo HERO7 Black voorzien van de GoPro Labs firmware. Fluorescerend Kleurenschema Geruchten suggereren dat de GoPro HERO12 Black mogelijk een dubbel fluorescerend kleurenschema zal krijgen - een zeer gewenste functie onder fans. Veel fans ervoor pleiten met de hashtag #makegoprofluro, waarbij ze hun verlangen naar een visueel opvallende en onderscheidende GoPro HERO12 uiten. Ook, dit slaat ook nergens op. Die #-tag wordt nergens gebruikt maar komt van een post van camerajabber.com die elk jaar wordt aangevuld met geructen over de nieuwe GoPro. De foto's bij deze post staan er al sinds de geruchten van de GoPro HERO9 Black. Ingebouwd ND-filter In navolging van veel systeemcamera's zou de GoPro HERO12 het voordeel van een ingebouwd ND-filter kunnen bieden. Deze opwindende toevoeging zou gebruikers in staat stellen om het filter aan of uit te zetten, zodat ze moeiteloos de belichting met een paar stops kunnen verminderen. Met de mogelijkheid om zelfs in goed verlichte omstandigheden op grotere diafragma's te fotograferen, kunnen avonturiers experimenteren met langzamere sluitertijden en prachtige beelden vastleggen met verbeterde creatieve controle. Maar voor nu, als je een van de eerdere GoPro-modellen hebt, dien je je ND-filter apart aan te schaffen. Tjah, een software matig ND filter of een echt ND filter, geef mij de echte maar. Prijs en beschikbaarheid Hoewel er geen officiële bevestigingen zijn over de prijs en beschikbaarheid, wordt gespeculeerd dat de GoPro HERO12 Black een premium prijskaartje zal hebben vanwege de verwachte geavanceerde functies en verbeteringen. Als je naar de release datums van de laatste 3 GoPro camera's kijkt dan was dat steenvast de derde week van september op een woensdag wat voor dit jaar 13 september zou betekenen. Grappig detail is dat het vorig jaar de 14e was, in 2021 de 15e en in 2020 de 16e. Voor 2024 zou dat de moeten 17e zijn. Conclusie De GoPro HERO12 Black heeft de techgemeenschap al in spanning gehouden met allerlei geruchten en speculaties. Hoewel er nog geen officiële aankondiging is geweest, wijzen de geruchten op opwindende verbeteringen in beeldkwaliteit, stabilisatie, design en prestaties. Als deze geruchten waar blijken te zijn, kan de HERO12 Black een ware gamechanger zijn in de wereld van actiecamera's. Veelgestelde Vragen Wanneer wordt de GoPro HERO12 Black officieel uitgebracht? Op dit moment is er nog geen officiële releasedatum aangekondigd voor de HERO12 Black. We moeten afwachten tot GoPro officieel nieuws vrijgeeft. De verwachting is woensdag 13 september. Zal de HERO12 Black compatibel zijn met bestaande GoPro-accessoires? Hoewel dit nog niet bevestigd is, is het aannemelijk dat de HERO12 Black compatibel zal zijn met een groot deel van de bestaande GoPro-accessoires. Zal de prijs de moeite waard zijn voor de verwachte verbeteringen? Hoewel de prijs nog niet is bevestigd, kan deze gerechtvaardigd worden door de verwachte verbeteringen in functies en prestaties, afhankelijk van de individuele behoeften van gebruikers. Zal de HERO12 Black ook geschikt zijn voor onderwateropnamen? Gezien het feit dat GoPro bekend staat om zijn duurzaamheid en waterbestendigheid, is het zeer waarschijnlijk dat de HERO12 Black geschikt zal zijn voor onderwateropnamen, maar dit moet nog officieel worden bevestigd. Disclaimer: Deze informatie is gebaseerd op geruchten en gelekte informatie en kan nog niet officieel bevestigd zijn door GoPro. Raadpleeg de officiële kanalen van GoPro voor de meest actuele en accurate informatie. Voetnoot 1) Bluetooth launch studio, D064949, 2023-08-02. 2) United States Patent and Trademark Office, US 2023/0254560, 2023-08-10.